NeoFlexST™ 63 mm
NeoFlexST™ 63 mm to system wentylacyjny wyróżniający się wysoką trwałością oraz unikalną konstrukcją, która zapewnia efektywny i równomierny rozdział powietrza. Wysoka gęstość powłoki ocynku (275 g/m²) gwarantuje długą żywotność elementów stalowych, a opatentowana budowa rozdzielaczy przelotowych z perforacją pozwala na minimalizację oporów przepływu. Zaprasowane elementy łączące zachowują warstwę ocynku w miejscu połączenia, co chroni system przed korozją, natomiast ranty montażowe ułatwiają instalację.
Rozdzielacze dodatkowo posiadają wysokiej jakości izolację akustyczną.
W skład zestawu wchodzą elastyczne, antybakteryjne przewody PE o średnicy zewnętrznej 63 mm, skrzynki rozprężne kątowe i przelotowe, rozdzielacze płaskie 2-, 3- i 4-kierunkowe, a także rozdzielacze przelotowe 2- i 3-rzędowe. Całość uzupełniają akcesoria dodatkowe, takie jak zaślepki i złączki, które zwiększają elastyczność konfiguracji systemu.
Zawartość systemu NeoFlexST™ 63 mm
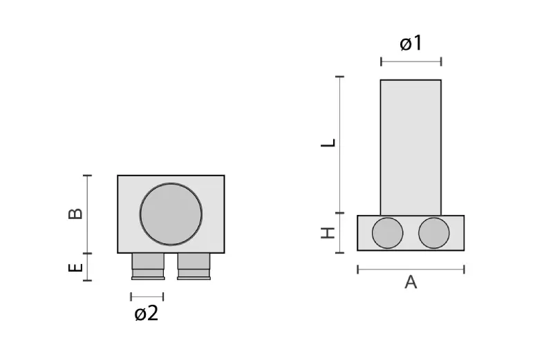
1. Skrzynka rozprężna kątowa 2×63/125 mm
| A | B | H | ø1 | ø2 | E | L |
| 220 | 160 | 72 | 125 | 63 | 50 | 280 |
Kod produktu NFP63SR2X63/125
Materiał stal ocynkowana, elastyczne tworzywo sztuczne (króćce)
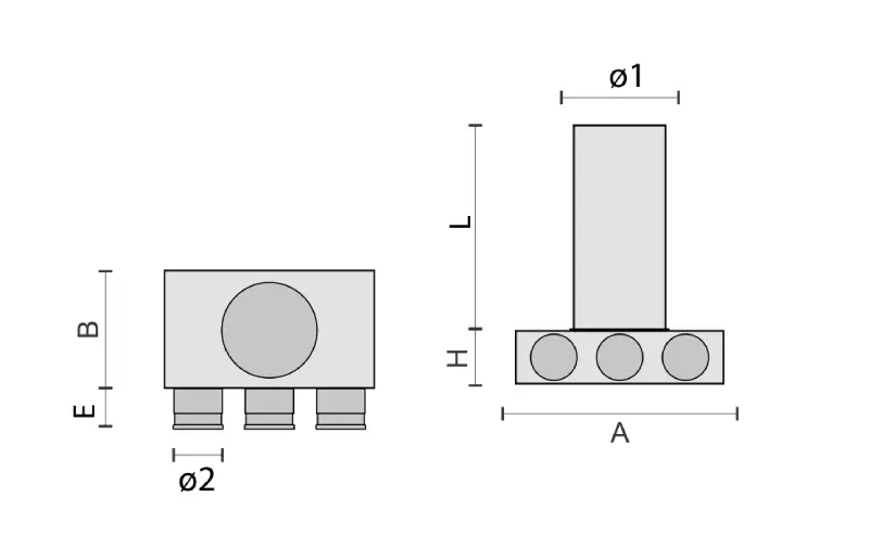
2. Skrzynka rozprężna kątowa 3×63/125 mm
| A | B | H | ø1 | ø2 | E | L |
| 280 | 160 | 72 | 125 | 63 | 50 | 280 |
Kod produktu NFP63SR3X63/125
Materiał stal ocynkowana, elastyczne tworzywo sztuczne (króćce)
3. Skrzynka rozprężna kątowa 4×63/160 mm
| A | B | H | ø1 | ø2 | E | L |
| 380 | 200 | 72 | 160 | 63 | 50 | 280 |
Kod produktu NFP63SR4X63/160
Materiał stal ocynkowana, elastyczne tworzywo sztuczne (króćce)
4. Skrzynka rozprężna przelotowa 3×63/125 mm
| A | B | H | ø1 | ø2 | E | L |
| 290 | 150 | 135 | 125 | 63 | 50 | 280 |
Kod produktu NFP63SR3X63/125/P
Materiał stal ocynkowana, elastyczne tworzywo sztuczne (króćce)
5. Rozdzielacz kątowy 16×63/200, 3 kierunkowy (4/8/4)
| A | B | H | ø1 | ø2 | E |
| 770 | 390 | 72 | 200 | 63 | 50 |
Kod produktu NFP63R16X63/200/3K/IZ
Materiał stal ocynkowana, elastyczne tworzywo sztuczne (króćce)
6. Rozdzielacz kątowy 12×63/160, 3 kierunkowy (3/6/3)
| A | B | H | ø1 | ø2 | E |
| 580 | 295 | 72 | 160 | 63 | 50 |
Kod produktu NFP63R12X63/160/3K/IZ
Materiał stal ocynkowana, elastyczne tworzywo sztuczne (króćce)
7. Rozdzielacz kątowy 12×63/160, 2 kierunkowy (6/6)
| A | B | H | ø1 | ø2 | E |
| 580 | 580 | 72 | 160 | 63 | 50 |
Kod produktu NFP63R12X63/160/2K/IZ
Materiał stal ocynkowana, elastyczne tworzywo sztuczne (króćce)
8. Rozdzielacz kątowy 10×63/160, 2 kierunkowy (5/5)
| A | B | H | ø1 | ø2 | E |
| 485 | 485 | 72 | 160 | 63 | 50 |
Kod produktu NFP63R10X63/160/2K/IZ
Materiał stal ocynkowana, elastyczne tworzywo sztuczne (króćce)
9. Rozdzielacz przelotowy 12×63/160, 2 rzędowy (2×6)
| A | B | H | ø1 | ø2 | E |
| 650 | 305 | 235 | 160 | 63 | 50 |
Kod produktu NFP63R12X63/160/2R/IZ/P
Materiał stal ocynkowana, elastyczne tworzywo sztuczne (króćce)
10. Rozdzielacz przelotowy 18×63/200, 3 rzędowy 3×6)
| A | B | H | ø1 | ø2 | E |
| 605 | 305 | 295 | 200 | 63 | 50 |
Kod produktu NFP63R18X63/200/3R/IZ/P
Materiał stal ocynkowana, elastyczne tworzywo sztuczne (króćce)
11. Nawiewnik szczelinowy 600 x 60, 1-szczelina
| A | H |
| 600 | 60 |
Kod produktu SZ30-1-0,6-L2-RL
Materiał nawiewnik – aluminium malowane proszkowo; puszka – stal ocynkowana
12. Puszka do nawiewnika szczelinowego 600 x 60 x (3 x 63)
| A | H | ø |
| 600 | 60 | 3 x 63 |
Kod produktu 2019877003678
Materiał nawiewnik – aluminium malowane proszkowo; puszka – stal ocynkowana
13. Zaślepka wejścia 63 mm do króćców rozdzielaczy i skrzynek rozprężnych
Kod produktu XF-TUBE-63Z
Materiał polietylen
14. Mufa do łączenia przewodów NeoFlexST™ 63 mm
Kod produktu NFP63MUFA
Materiał polietylen
15. Środek smarująco konserwujący do łączenia króćców z przewodem lub zaślepką
Kod produktu NFPSSK
Materiał puszka spray 400 m
16. Nożyk do NeoFlexST™ 63 mm
Kod produktu NF63.NOZYK
17. Przewód elastyczny okrągły NeoFlexST™ 63 mm
| średnica zewnętrzna | długość |
| 63 mm | 50 mb |
Kod produktu NFP6350SI
Materiał polietylen z wewnętrzną powłoką antybakteryjną, bakteriobójczy; klasa szczelności C
Montaż i integracja z instalacją rekuperacji
Dzięki niewielkim wymiarom przewodów i kształtek (wysokość zaledwie 72 mm w najwyższym punkcie) system można łatwo ukryć w niskich posadzkach oraz w płytkich sufitach podwieszanych. Wymaga on mniejszej grubości posadzki i warstwy styropianu niż inne rozwiązania, co znacząco ułatwia planowanie i realizację projektu rekuperacji. Króćce montażowe typu „klik” przyspieszają instalację – czas potrzebny na podłączenie przewodów do kolektorów i skrzynek rozprężnych jest krótszy aż o 70%, co realnie obniża koszty robocizny podczas montażu rekuperacji i rekuperatorów.
Parametry techniczne i higieniczne
Przewody polietylenowe posiadają wewnętrzną warstwę antybakteryjną, zapewniającą bezpieczeństwo higieniczne użytkowników. Dodatkowo rozdzielacze zostały wyposażone w powłokę tłumiącą o grubości 3 mm, co znacząco poprawia komfort akustyczny całej instalacji. System osiąga bardzo wysoką szczelność (klasa C), co przekłada się na niskie straty energetyczne i wysoką efektywność pracy wentylacji mechanicznej z odzyskiem ciepła.
Zastosowanie w praktyce
Równomierny rozdział powietrza, niewielkie opory przepływu oraz dodatkowe uszczelnienie przyłącza do anemostatów sprawiają, że NeoFlexST™ 63 mm jest jednym z najbardziej niezawodnych rozwiązań na rynku. Estetyka wykonania kształtek wycinanych laserowo dodatkowo podkreśla profesjonalny charakter systemu. Instalatorzy docenią łatwość montażu i wysoką trwałość, a inwestorzy – komfort, higienę i efektywność eksploatacji.
NeoFlexST™ 63 mm w profesjonalnych instalacjach
System został opracowany z myślą o pełnej integracji z nowoczesnymi centralami wentylacyjnymi i znajduje zastosowanie zarówno w nowych inwestycjach, jak i przy modernizacji budynków w ramach wdrażania rekuperacji w domu. Stanowi kluczowy element każdego dobrze przygotowanego projektu rekuperacji, w którym istotne są niezawodność, szczelność i energooszczędność całej instalacji.
Jeżeli chcesz poznać więcej szczegółów dotyczących systemu NeoFlexST™ 63 mm lub uzyskać wsparcie w zakresie doboru i montażu rekuperatora, skontaktuj się z zespołem Ventermo – doradzimy najlepsze rozwiązania techniczne dopasowane do Twojej inwestycji.